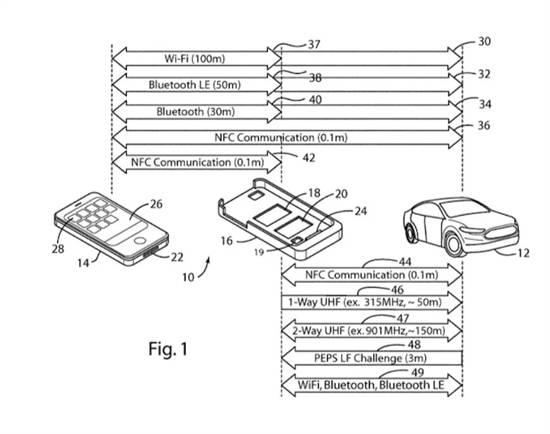
福特最近获得了美国专利号为9,842,444的智能手机外壳专利,该外壳将成为汽车钥匙,由于Tesla等制造商的专用移动应用程序出现,这个专利似乎既巧妙又过时。该专利于2012年12月12日提交,显示了合理的典型的智能手机外壳设计以及NFC通信功能以及UHF发射器和接收器的附加优点,理论上,该设备可以向后兼容使用旧车的关键技术。
福特手机壳专利图
由于“手机上的钥匙”应用出现,这个专利可对于新车吸引力不大。但是对于现有车辆的车主来说,以小巧的手机外壳取代稍微笨拙的钥匙链来说将是非常有吸引力的。目前还不清楚福特这款专利是否最终变成商业化产品,如果最终成为产品,福特该产品可能仅限于福特品牌汽车使用。
免责声明:本文仅代表作者个人观点,与www.smart-alliance.com网站无关。其原创性以及文中陈述文字和内容未经本站证实,对本文以及其中全部或者部分内容、文字的真实性、完整性、及时性本站不作任何保证或承诺,请读者仅作参考,并请自行核实相关内容。
